聯係方式 |
| 電話(市場部):0517-86851868 |
| |
| |
| (拓展部): |
| 傳真: |
節假日商務聯係電話:
何經理:
紀經理: |
| 郵編:211600 |
| 網址:http://007gupiao.cn/ |
| http://www.sukeyb.com/ |
| E-mail: |
| |
地址:江蘇省金湖縣工業園區環城西
路269號 |
|
|
 |
您現在的位置 > 首頁 > 行業新聞 > 液體流量計安裝注意事項 |
 |
|
|
|
液體流量計安裝注意事項 |
液體流量計量應用於工農業生產、國防建設、科學研究對外貿易以及人民生活各個領域之中。分轉子流量計、節流式流量計、細縫流量計、容積流量計、電磁流量計、超聲波流量計等。按介質分類:液體流量計和氣體流量計流量計的種類很多,安裝要注意哪些事項:
1.液ye體ti流liu量liang計ji的de安an裝zhuang方fang式shi比bi較jiao靈ling活huo,可ke以yi水shui平ping安an裝zhuang,也ye可ke以yi垂chui直zhi安an裝zhuang。如ru果guo選xuan擇ze的de是shi垂chui直zhi安an裝zhuang,就jiu一yi定ding要yao讓rang它ta的de流liu體ti方fang向xiang向xiang上shang。在zai安an裝zhuang的de時shi候hou,要yao注zhu意yi讓rang管guan道dao內nei充chong滿man液ye體ti,不bu要yao有you氣qi泡pao存cun在zai。
2.液ye體ti流liu量liang計ji的de傳chuan感gan器qi在zai安an裝zhuang的de時shi候hou要yao注zhu意yi遠yuan離li外wai界jie磁ci場chang,要yao是shi不bu能neng避bi免mian這zhe種zhong情qing況kuang,也ye要yao采cai取qu相xiang應ying的de措cuo施shi。液ye體ti流liu量liang計ji在zai使shi用yong一yi段duan時shi間jian之zhi後hou可ke以yi檢jian修xiu一yi下xia,這zhe個ge時shi候hou最zui好hao是shi在zai傳chuan感gan器qi的de兩liang端duan安an裝zhuang旁pang通tong的de管guan道dao,這zhe樣yang可ke以yi保bao證zheng液ye體ti的de正zheng常chang輸shu送song。
3.在安裝液體流量計的時候有三種方式可以選擇,分別是法蘭連接、加(jia)裝(zhuang)式(shi)連(lian)接(jie)和(he)螺(luo)紋(wen)連(lian)接(jie),大(da)家(jia)可(ke)以(yi)根(gen)據(ju)實(shi)際(ji)情(qing)況(kuang)來(lai)挑(tiao)選(xuan)安(an)裝(zhuang)方(fang)法(fa)。另(ling)外(wai),在(zai)安(an)裝(zhuang)液(ye)體(ti)的(de)時(shi)候(hou),要(yao)注(zhu)意(yi)其(qi)流(liu)向(xiang)與(yu)外(wai)殼(ke)上(shang)指(zhi)示(shi)的(de)方(fang)向(xiang)要(yao)一(yi)致(zhi)。
當然,液體流量計在使用過程中要注意的事項還有很多,隻要客戶按廠家指導的方法安裝,就可以讓液體流量計長久穩定可靠運作。
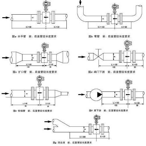
液體流量計(管道式電磁流量計)安裝示意圖:

|
|