主要用途
氣體旋進旋渦流量計可廣泛應用於石油、化工、電力、冶金、城市供氣等行業測量各種氣體流量,是目前油田和城市天然氣輸配計量和貿易計量的產品。
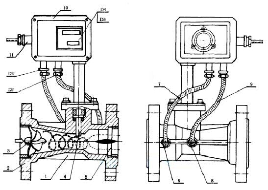
氣體旋進旋渦流量計計的結構如圖所示

氣體旋進旋渦流量計主要由四大部件組成,即由流量傳感器(亦稱主體結構)、溫度傳感器、壓力傳感器、流量計算處理顯示組成。其中流量傳感器由流量計殼體、旋渦發生體、壓電傳感器、除旋整流器組成。
隨sui著zhe我wo國guo能neng源yuan行xing業ye的de不bu斷duan發fa展zhan,並bing且qie不bu斷duan的de從cong國guo內nei外wai吸xi收shou其qi經jing驗yan,認ren真zhen的de對dui國guo內nei外wai的de產chan品pin進jin行xing了le分fen析xi對dui比bi,吸xi取qu出chu國guo外wai產chan品pin長chang處chu,找zhao到dao自zi己ji的de不bu足zu之zhi處chu,推tui出chu了le新一代智能化的流量計—— 氣體旋進旋渦流量計。這種流量計不僅具有集溫度、壓力、流量監測的功能,而且還可以自動對壓縮因子、壓力以及溫度等進行補償,這些特點目前在我國的環境下非常適用。
因為氣體旋進旋渦流量計是根據我國的實情設計的,所以該流量計不僅在價格方麵比較優惠,而且對前後直管段、量程比寬要求也較低,因此在氣田、油(you)田(tian)及(ji)各(ge)個(ge)城(cheng)市(shi)貿(mao)易(yi)計(ji)量(liang)等(deng)場(chang)所(suo)中(zhong)能(neng)夠(gou)被(bei)迅(xun)速(su)的(de)應(ying)用(yong)起(qi)來(lai)。然(ran)而(er)以(yi)該(gai)型(xing)流(liu)量(liang)計(ji)具(ju)有(you)兩(liang)個(ge)比(bi)較(jiao)明(ming)顯(xian)的(de)缺(que)點(dian),一(yi)個(ge)是(shi)該(gai)型(xing)流(liu)量(liang)計(ji)的(de)壓(ya)力(li)損(sun)失(shi)比(bi)較(jiao)大(da),因(yin)此(ci)該(gai)型(xing)流(liu)量(liang)計(ji)目(mu)前(qian)僅(jin)被(bei)用(yong)在(zai)高(gao)中(zhong)壓(ya)調(tiao)壓(ya)站(zhan)、高中壓工業用戶、zhongxiaoxingshupeiqichangzhanjichuguanzhanyidengchangsuozhong。lingyigeshigaixingliuliangjizaianzhuangshiyongshiyaoqiubijiaogao,anzhuangshibujinyaokaolvdiancideganrao,erqieduianzhuangweizhidezhendongqingkuangyeyaojinxingzhangkong。ruguoanzhuangzaihuwaijiyaobafangshai、防雨措施做好,還要經常性的檢查、更換供電電池。
本文智能孔板流量計來源於網絡,如有侵權聯係刪除轉載請注明出處!!