摘要:孔板流量計是一種廣泛應用與化學工業的流量測量儀表。它在安裝、shiyongheweihudengfangmiancunzaihenduodebuzu,congerrongyichanshengliuliangceliangdewucha。tongguoduikongbanliuliangjideyanjiu,tichuyinqiliuliangceliangwuchadegezhongyuanyin。tongguobuchanghejishugaizaodengcuoshiduiceliangwuchajinxinglexiuzheng,congerbaozhengleliuliangceliangdezhunquexingheshixiaoxing,zheduiyukongbanliuliangjidezhunquejiliangjuyouyidingdezhidaozuoyong。
1.
概述
zaizidonghuashengcuoguochengzhongxuyaoduiliuliangjinxingceliang,yikongzhishengchanguochengzhongdegongzuozhuangkuang。liuliangzheyicanshushihengliangshebeidexiaolvhejingjihesuandezhongyaozhibiao,qiceliangjingdushiqiyenengyuanguanlidezhongyaoshouduan。chayashiliuliangjishigongyeshiyongzuiduodeliuliangjizhiyi,qiceliangjingdushiyouqiceliangyuanli、結構、製造工藝水平、被測流體的性質和使用條件等決定的。
2.
孔板流量計的組成和工作原理
2.1組成
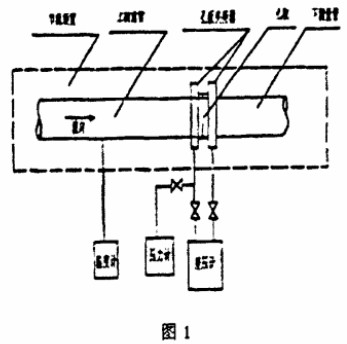
孔板流量計的結構組成如圖1所示,有節流裝置、差壓計(一般用差壓變送器)、壓力計、溫度計、引壓導管和流量顯示記錄儀等組成。

2.2工作原理
如圖2所示,隻要獲得壓力、溫度、差壓即可根據一定的數學關係式計算出流量。
孔板流量計的安裝
3.1
節流元件(標準孔板)的安裝
節流件前後的直管段必須是直的,不得有肉眼可見的彎曲。節流件前後要求一段足夠長的直管段,應該按國際GBT2624-2006用安裝在圓形截麵管道中的差壓裝置測量滿管流體流量的要求處理是最為合理的。但在實際工程上人們往往按照前10D後5D來進行安裝。
3.2引壓管的安裝
取壓管盡量按最短距離安裝,一般應小於16m。如被測介質為氣體是,應將取壓口定在水平線上偏45°的de位wei置zhi上shang,以yi使shi冷leng凝ning渡du進jin入ru導dao壓ya管guan。對dui高gao粘zhan度du或huo腐fu蝕shi性xing介jie質zhi,要yao加jia裝zhuang隔ge離li器qi,通tong過guo隔ge離li液ye將jiang差cha壓ya信xin號hao傳chuan遞di給gei變bian送song器qi。對dui液ye體ti介jie質zhi,在zai導dao壓ya管guan最zui高gao點dian應ying安an裝zhuang集ji氣qi器qi。
3.3差壓變送器的安裝
取壓點處應保證有直管段,兩邊各大於5D(管道直徑)。zaizhengqiguandaoshangquyashi,yingzaiguandaodecemiananzhuangyinyaguan,pinghengguanyinganzhuangzaiyinyaguandezuigaodianchu,paiwuguanyingzaikaojinbiansongqiyinyaguanlianjiechuanzhuang。quyadianyubiansongqideguandaojuliyingdayu1米,變送器的安裝位置應低於取壓點的位置。
4.
孔板流量計使用中的測量誤差分析
孔板流量計在實際應用時,如果使用不當,會使它的測量誤差增大,有時可達到10%左右。如何減少其計量誤差,需要合理選型、準確的設計計算和加工製造,更要注意正確安裝、維護和符合使用條件等才能保證孔板流量計有足夠的實際測量精度。下麵就其測量誤差進行分析。
- 流量計算方程描述流動狀態真實性的不確定性因素,以及脈動流、多相流、漩渦流、不(bu)對(dui)稱(cheng)流(liu)動(dong)等(deng)不(bu)符(fu)合(he)標(biao)準(zhun)規(gui)定(ding),如(ru)果(guo)仍(reng)按(an)照(zhao)原(yuan)有(you)的(de)儀(yi)表(biao)常(chang)數(shu)推(tui)算(suan)流(liu)量(liang),將(jiang)於(yu)實(shi)際(ji)流(liu)量(liang)有(you)誤(wu)差(cha),則(ze)可(ke)根(gen)據(ju)有(you)關(guan)計(ji)算(suan)公(gong)式(shi)加(jia)以(yi)修(xiu)正(zheng)或(huo)重(zhong)新(xin)設(she)計(ji)計(ji)算(suan)。
- 測量裝置(如一次元件、二次儀表、計算輸出設備等)在滿足標準的技術要求前提下,由於各個裝置自身及環境條件因素引起的不確定因素。
孔kong板ban安an裝zhuang不bu正zheng確que。安an裝zhuang時shi孔kong板ban開kai孔kong中zhong心xin與yu管guan道dao中zhong心xin線xian不bu同tong心xin,會hui造zao成cheng測ce量liang誤wu差cha,引yin壓ya管guan堵du塞sai及ji墊dian片pian等deng凸tu出chu物wu的de出chu現xian也ye是shi引yin起qi誤wu差cha的de原yuan因yin。
孔板入口邊緣被磨損。雖然標準孔板早已列入國際標準ISO5167和我國國家標準GB2624,但它在結構上是有其固有弱點的,它在實際使用中時不耐用的。一塊孔板的使用期限可以是十年或更長,但在安裝投運後僅4~5個月,其入口邊緣的尖銳度就已開始遭到破壞。在使用中,由於流體的磨蝕作用,特別是對於高壓、或huo高gao流liu速su含han顆ke粒li的de流liu體ti以yi及ji高gao溫wen蒸zheng汽qi等deng,它ta的de入ru口kou邊bian緣yuan將jiang更geng快kuai的de變bian鈍dun,被bei磨mo成cheng圓yuan形xing入ru口kou邊bian緣yuan。其qi結jie果guo是shi,在zai相xiang同tong的de流liu量liang下xia,孔kong口kou後hou流liu體ti的de收shou縮suo程cheng度du減jian弱ruo,差cha壓ya不bu斷duan降jiang低di,會hui形xing成cheng日ri益yi增zeng大da的de負fu的de流liu量liang誤wu差cha。孔kong板ban出chu口kou處chu的de流liu速su最zui小xiao截jie麵mian積ji在zai入ru口kou被bei磨mo蝕shi後hou已yi經jing增zeng大da,如ru果guo在zai此ci狀zhuang況kuang下xia能neng夠gou標biao定ding,自zi然ran會hui發fa現xian該gai孔kong板ban的de流liu出chu係xi數shu已yi經jing增zeng大da,但dan使shi用yong中zhong仍reng沿yan用yong按an標biao準zhun公gong式shi計ji算suan得de出chu的de較jiao小xiao的de係xi數shu,因yin此ci會hui出chu現xian日ri益yi增zeng大da的de負fu的de係xi統tong誤wu差cha。
kongbanbiaomiandejiegouheliutongjiemianjidebianhua。youyukongbanliuliangjiyoujieliujian,changqishiyongshi,zangwuwujiangduijizaikongbandeshangyou,zaochengchayaxinhaobuzhun,zhijieyingxiangjiliangjingdu。zangwuhekongbandunhuakezaochengjiliangpiancha2~10%以上。如果被測量的介質較髒(含焦油),造成孔板前後取壓環室被堵,取壓口的壓力發生變化或無壓差,流量計都無法正常工作,都會造成較大的測量誤差或無流量顯示。
(3)被測介質實際特性的不確定因素,如組分變化及取樣、分析誤差,以及實際物性變化影響儀表正常工作等對流量值的不確定度產生影響。
(4)變bian送song器qi零ling點dian漂piao移yi和he量liang程cheng設she置zhi不bu當dang也ye會hui引yin起qi測ce量liang誤wu差cha。由you於yu時shi間jian較jiao長chang,變bian送song器qi的de零ling點dian會hui發fa生sheng漂piao移yi,若ruo是shi負fu漂piao移yi,變bian送song器qi輸shu出chu電dian流liu則ze小xiao於yu標biao準zhun4MA,流量則顯示偏低,若是正漂移,變送器輸出電流則大於標準4MA,流量則顯示偏高。若量程設置較大,流量則顯示偏低,量程設置較小,流量則顯示偏高。
5.結束語
在zai我wo國guo長chang輸shu和he集ji輸shu管guan道dao的de工gong程cheng實shi踐jian中zhong,孔kong板ban流liu量liang計ji特te別bie是shi高gao級ji孔kong板ban閥fa長chang期qi占zhan據ju統tong治zhi地di位wei。客ke觀guan地di講jiang,在zai采cai用yong孔kong板ban流liu量liang計ji測ce量liang流liu量liang時shi,需xu要yao對dui孔kong板ban流liu量liang計ji的de一yi次ci性xing裝zhuang置zhi(孔板節流裝置)和二次儀表(差壓、靜壓、溫度、被測介質物性等)的選擇、設計、安裝、使用都要嚴格安裝有關標準進行,再加上不定期維護和檢查,才能保證流量計的測量精度。
以上內容來源於網絡,如有侵權請聯係即刪除!